ОБСЛУЖИВАНИЕ КЛИЕНТОВ:
Интернет-магазин:

+375 (29) 603-01-43

Розничный магазин:

+375 (29) 602-33-11
+375 (29) 174-93-32

Проектные продажи:

+375 (29) 661-87-84

Оптовые продажи:

+375 (17) 353-33-11
+375 (29) 608-50-09

Ваша корзина

Ваша корзина

Продуктов: 199
На сумму: 10623.64 руб.

Сравнение продуктов



Поиск продуктов

Каталог продуктов

ПРИНИМАЕМ:

Способы оплаты

ОТПРАВЛЯЕМ:

Способы доставки

Магазины Светилкин


Sylvania
Zercale
GTV
Tungsram
Osram
Ledvance
Gauss
Maytoni
НОоТЕХНИКА
Tridonic
Kam's
Gracion
Unipro
ЭНЭФ
ЛИТ
НИИИС им.Лодыгина
TOPMET
Technoled
НФЛ
МДМ-ЛАЙТ
SELZ
Stucchi
FALDI
 

Лампа металлогалогенная Sylvania 0020832 HSI-MP 150W CL 4200K E27

Лампа металлогалогенная Sylvania 0020832 HSI-MP 150W CL 4200K E27
95.00 руб.
предзаказ
сравнить
Особенности продукта: Универсальное положение Универсальное положение Поглощает УФ-излучение Требуется балласт Универсальное положение Торговая марка:

HSI-MP MetalArc - кварцевые металлогалогенные лампы с цоколем Е27, предназначенные для использования в открытых светильниках.

Применение

Очень экономичные источники света для освещения больших общественных мест, например, терминалы аэропортов, залы, вестибюли, просторные офисы, магазины розничной торговли.

Возможности

Малые размеры и одноцокольное исполнение Е27 обеспечивают максимальную свободу дизайнерам. Лампы имеют длительный срок службы 15000 часов, что снижает до минимума затраты на эксплуатацию. Отличная цветопередача в течение всего срока службы. Наружное защитное стекло от УФ излучения снижает обесцвечивание материалов.

Эксплуатация

Непрерывная эксплуатация не рекомендована - необходимо отключать, по крайней мере, раз в неделю на 15 мин. Немедленно отключить при повреждении внешней колбы.

Свойства товара

Производитель Sylvania
Страна изготовитель Бельгия
Класс источника света Газоразрядная лампа
Индекс цветопередачи, (CRI)  RA70-79 / 2А
Обозначение HSI-MP150W CL NDL
Отделка колбы (цвет) Прозрачная
Назначение Общее освещение
Тип лампы HI / ДРИ (Металлогалогенная лампа)
Возможность диммирования 
Требуется балласт
Мощность (Вт)  150
Напряжение (В)  95
Ток (А)  1.8
Цоколь E27
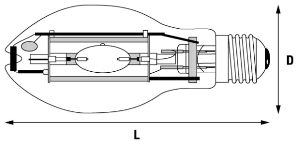
Длина (мм), L 142
Диаметр (мм), D 54
Цветовая температура (K)  4000
Световой поток, лм  13000
Количество в упаковке (шт) 12
Код заказа 0020832
Штрих-код EAN 5410288208329
Обозначение цвета Белый
ZVEI HIE-OF-UVr


Аналоги

OSRAM HQI-E 150W/NDL clear

Изображения






Светилкин - Евразийский светотехнический специалист